NSN 3930-00-837-9037 MILT17760, MIL-T-17760, 00-837-9037
Product Details | POWERED PALLET TRUCK
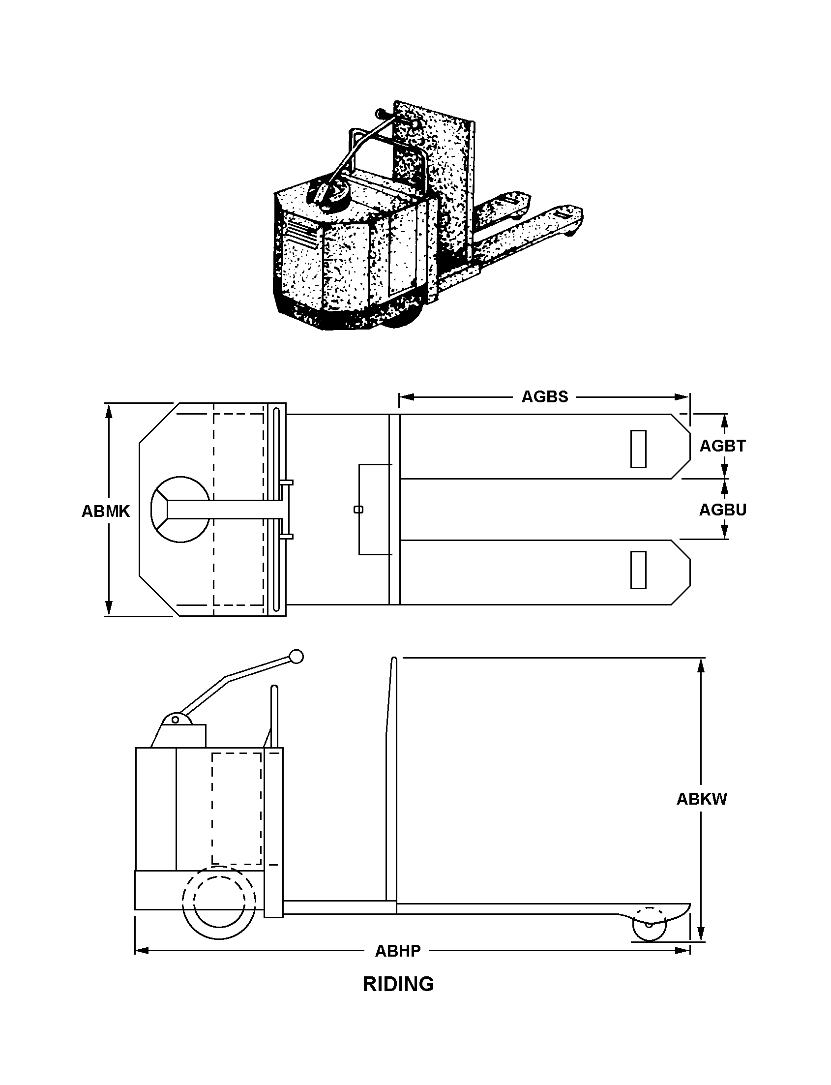
3930-00-837-9037 A self-propelled, wheeled vehicle having a mechanical or hydraulic operated lifting mechanism (a framework consisting of two forks, each fork having mounted wheel(s) for support of the outer fork ends) primarily designed for horizontal handling of pallets and not intended for high elevating. The lift mechanism raises enough to lift the pallet above the floor only for transporting purposes. May be designed for riding and/or "walking along hand guiding.
Part Alternates: MILT17760, MIL-T-17760, 3930-00-837-9037, 00-837-9037, 3930008379037, 008379037
Materials Handling Equipment | Warehouse Trucks and Tractors, Self-Propelled
| Supply Group (FSG) | NSN Assign. | NIIN | Item Name Code (INC) |
|---|---|---|---|
| 39 | 01 JAN 1962 | 00-837-9037 | 21921 ( TRUCK, PALLET, POWERED ) |
Cross Reference | NSN 3930-00-837-9037
| Part Number | Cage Code | Manufacturer |
|---|---|---|
| MIL-T-17760 | 81349 | MILITARY SPECIFICATIONS PROMULGATED BY MILITARY |
Request a Quote
What Our Customers Say
Compare
NSNs for Compare ( up to 4 ): Add 3930-00-837-9037
Related Products | NSN 3930-00-837-9037
Technical Data | NSN 3930-00-837-9037
| Characteristic | Specifications |
|---|---|
| STYLE DESIGNATOR | 21 RIDING |
| PRIME MOVER TYPE | ELECTRIC MOTOR |
| MAXIMUM LOAD RATING | 4000.000 POUNDS |
| LIFT MECHANISM TYPE | HYDRAULIC |
| LIFT ACTUATION METHOD | POWERED |
| FEATURES PROVIDED | RADIO SUPPRESSED |
| SPECIAL FEATURES | SOLID STEERING WHEEL |
| NONDEFINITIVE SPEC/STD DATA | E TYPE AND 1 CLASS AND 1 SIZE |
| MANUFACTURERS CODE | 81349 |
| NON-DEFINITIVE GOVERNMENT SPEC/STD REFERENCE | MIL-T-17760 |
Restrictions/Controls & Freight Information | NSN 3930-00-837-9037
| Category | Code | Description |
|---|---|---|
| Shelf-Life Code: | 0 | Nondeteriorative |
| Hazardous Material Indicator Code | N | There is no data in the HMIS and the NSN is in an FSC not generally suspected of containing hazardous materials |
| Demilitarization Code: | A | Non-Munitions List Item/ Non-Strategic List Item - Demilitarization not required. |
| Controlled Inventory Item Code: | U | UNCLASSIFIED |
| Precious Metals Indicator Code: | A | Item does not contain precious metal |
| Criticality Code: | X | The item does not have a nuclear hardened feature or any other critical feature such as tolerance, fit restriction or application. |
| Category | Code | Description |
|---|---|---|
| NMF Description | 190190 | VEHICLE MTR:AUTO FRT NOI TRACTORS |
| Less than car load rating | M | 85 |
| Less than truck load rating | F | 150.0 |
| Water commodity Code | 891 | unknown |
| Originating Activity Code | XX | |
| Air Dimension Code | A | Shipment is not a consolidation and does not exceed 72 inches in any dimension. |
| Air Commodity | V | Vehicles, machinery, shop and warehouse equipment and supplies, including special tools and equipment, ground servicing and special purpose vehicles, marine equipment and supplies, repair and maintenance parts for the above. |
| Air Special Handling | Z | No special handling required. |
| Special Handling Code | Z | unknonwn |
| HAZMAT | ||
| Type of Cargo | W | Corrosive materials, UN class 8 (corrosive label) |
Management | NSN 3930-00-837-9037
| Category | Code | Description |
|---|---|---|
| Price Validation | N | The current standard price in Catalog Management Data (CMD) has not analyzed or coded for LP/LM.
|
| Fund Code | PD | Regulated items, item manager controlled. |
| Budget Code | V | 8257X3080:Vehicular Equip (REMS) Vehicle Items and centrally funded, procured, and managed replenishment spares (ERRC XD-1, XD-2) |
| Source of Supply | FLZ | Warner Robins Air Logistics Center Robins AFB, GA 31098-5609 |
| Agency | DF | Department of the Air Force |
| Service Organization | L | Lead Service - 22 (Repairable) |
| Reparability | U | AF Equipment Management System (AFEMS) |
| Acquisition Advice Codes | W | RESTRICTED REQUISITIONING-SPECIAL INSTRUCTIONS APPLY (NON-STOCKED ITEMS) Indicates stock number has been assigned to a generic item for use in bid invitations, allowance lists, etc., against which no stocks are ever recorded. Requisitions will be submitted only in accordance with IMM/Service requisitioning procedures. (This code will be used, when applicable, in conjunction with Phrase Code S (Stock as NSN(s)). It is considered applicable for use when a procurement source(s) becomes available. The Phrase Code S and the applicable stock as? NSN(s) will then be applied for use in stock, store and issue actions.) |
| Controlled Item Code | U | UNCLASSIFIED |
| Shelf Life Code | 0 | Nondeteriorative |
| Purchasing | QTY UOM |
1 EA : Each |



