NSN 5305-00-432-5712 8504194501, 8504194-501, 00-432-5712
Product Details | THUMBSCREW
5305-00-432-5712 An externally threaded fastener whose threaded portion is of one nominal diameter. It may have an unthreaded portion with a diameter less than, equal to, or greater than the diameter of the threaded portion. It has either a vertically flattened, circular knurled, or wing type head, all of which are designed for rotation by the thumb and fingers. For items having wrenching facilities such as socket recess, multiple spline or slot heads, use SCREW (as modified) or BOLT (as modified).
Part Alternates: 8504194501, 8504194-501, 5305-00-432-5712, 00-432-5712, 5305004325712, 004325712
Hardware and Abrasives | Screws
| Supply Group (FSG) | NSN Assign. | NIIN | Item Name Code (INC) |
|---|---|---|---|
| 53 | 03 MAY 1971 | 00-432-5712 | 06673 ( THUMBSCREW ) |
Cross Reference | NSN 5305-00-432-5712
| Part Number | Cage Code | Manufacturer |
|---|---|---|
| 8504194-501 | 11447 | L-3 COMMUNICATIONS CORPORATION DBA COMMUNICATION SYSTEMS - EAST |
| 8504194-501 | 20284 | TARGET CORPORATION DBA TARGET |
| 8504194-501 | 20723 | VALCORE MANUFACTURING LLC DBA USE CAGE CODE 04YE2 FOR |
| 8504194-501 | 21530 | SPENCER INDUSTRIES INC |
| 8504194-501 | 49671 | LOCKHEED MARTIN CORP LOCKHEED MARTIN INFORMATION SYSTEMS |
| 8504194-501 | 55097 | SHILOH INDUSTRIES, INC. |
Request a Quote
What Our Customers Say
Compare
NSNs for Compare ( up to 4 ): Add 5305-00-432-5712
Related Products | NSN 5305-00-432-5712
Technical Data | NSN 5305-00-432-5712
| Characteristic | Specifications |
|---|---|
| THREAD SERIES DESIGNATOR | UNC |
| NOMINAL THREAD DIAMETER | 0.375 INCHES |
| THREAD QUANTITY PER INCH | 16 |
| THREAD CLASS | 2A |
| THREAD DIRECTION | RIGHT-HAND |
| THREAD LENGTH | 0.750 INCHES NOMINAL |
| FASTENER LENGTH | 2.300 INCHES MINIMUM |
| MATERIAL | STEEL COMP 416 OVERALL |
| MATERIAL DOCUMENT AND CLASSIFICATION | QQ-S-763 FED SPEC SINGLE MATERIAL RESPONSE OVERALL |
| SURFACE TREATMENT | PASSIVATE OVERALL |
| SURFACE TREATMENT DOCUMENT AND CLASSIFICATION | ASTM A380 ASSN STD SINGLE TREATMENT RESPONSE OVERALL |
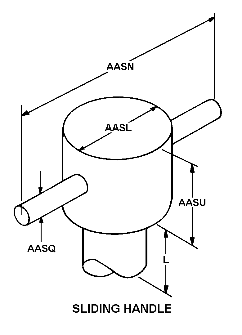
| HEAD STYLE | C99 SLIDING HANDLE |
| HEAD DIAMETER | 0.625 INCHES NOMINAL |
| HANDLE LENGTH | 2.000 INCHES NOMINAL |
| HANDLE DIAMETER | 0.250 INCHES NOMINAL |
| HEAD HEIGHT | 1.120 INCHES NOMINAL |
| POINT STYLE | F16 CONE |
Restrictions/Controls & Freight Information | NSN 5305-00-432-5712
| Category | Code | Description |
|---|---|---|
| Shelf-Life Code: | 0 | Nondeteriorative |
| Hazardous Material Indicator Code | N | There is no data in the HMIS and the NSN is in an FSC not generally suspected of containing hazardous materials |
| Demilitarization Code: | A | Non-Munitions List Item/ Non-Strategic List Item - Demilitarization not required. |
| Controlled Inventory Item Code: | U | UNCLASSIFIED |
| Precious Metals Indicator Code: | A | Item does not contain precious metal |
| Criticality Code: | X | The item does not have a nuclear hardened feature or any other critical feature such as tolerance, fit restriction or application. |
| Automatic Data Processing Equipment: | 0 | Represents items with no ADP components. NOTE: Codes 1 through 6 are only to be used when the item is Automatic Data Processing Equipment (ADPE) in its entirety and is limited to the type meeting only one of the definitions for codes 1 through 6. (See code 9) |
| Category | Code | Description |
|---|---|---|
| NMF Description | 093486 | BOLTS,NUTS OR SCREWS, NOI (SUB 3) |
| Less than car load rating | ||
| Less than truck load rating | W | Rating Variable |
| Water commodity Code | 573 | unknown |
| Originating Activity Code | SX | Oklahoma City Air Logistics Center Tinker AFB, OK 73145-3043 |
| Air Dimension Code | A | Shipment is not a consolidation and does not exceed 72 inches in any dimension. |
| Air Commodity | B | Construction materials: Includes paint and related materials, prefabricated building, wood products, metal and composition materials and their products, commercial hardware and miscellaneous items, cement, asphalt, building maintenance materials. |
| Air Special Handling | Z | No special handling required. |
| Special Handling Code | 9 | unknonwn |
| HAZMAT | ||
| Type of Cargo | Z | No special type of cargo code applicable |
Management | NSN 5305-00-432-5712
| Category | Code | Description |
|---|---|---|
| Budget Code | 9 | General Support DIV57X4921.070:Air Force decentrally managed expense items (ERRC XB3, XF-3) with a unit cost of less than $250,000 that are requisitioned/procured at base (retail) level from DLA, GSA, Army, Navy, Depot Maintenance Service, Air Force Industrial Fund (AFMC), local manufacture and commercial vendors. |
| Price Validation | N | The current standard price in Catalog Management Data (CMD) has not analyzed or coded for LP/LM.
|
| Fund Code | SF | Stock fund applicable to items managed for the Air Force by the respective Inventory Control Point. |
| Materiel Management Aggregation Code | SX | SX:AF SICA RESIDUAL MMAC-OC-ALC |
| Source of Supply | SMS | Defense Logistics Agency Enterprise Business Systems |
| Agency | DF | Department of the Air Force |
| Service Organization | F | U.S. Air Force |
| Reparability | N | Stock Fund (except Munitions) |
| Acquisition Advice Codes | J | NOT STOCKED, CENTRALLY PROCURED # (NON-STOCKED ITEMS) IMM/Service centrally managed but not stocked item. Procurement will be initiated only after receipt of a requisition. |
| Controlled Item Code | U | UNCLASSIFIED |
| Shelf Life Code | 0 | Nondeteriorative |



