NSN 5970-00-431-9572 125835, 00-431-9572, 004319572
Product Details | BUSHING INSULATOR
5970-00-431-9572 An insulator designed to fit into and reduce the effective diameter of the hole(s). It may include mounting and/or conducting hardware. For flexible bushing-type insulators that are self-retaining and consist of two facing flanges separated by a neck, see GROMMET, NONMETALLIC. Also see SPACER, SLEEVE and BUSHING, SLEEVE. Excludes INSULATION SLEEVING, ELECTRICAL.
Part Alternates: 125835, 5970-00-431-9572, 00-431-9572, 5970004319572, 004319572
Electrical and Electronic Equipment Components | Electrical Insulators and Insulating Materials
| Supply Group (FSG) | NSN Assign. | NIIN | Item Name Code (INC) |
|---|---|---|---|
| 59 | 01 JAN 1963 | 00-431-9572 | 18301 ( INSULATOR, BUSHING ) |
Cross Reference | NSN 5970-00-431-9572
| Part Number | Cage Code | Manufacturer |
|---|---|---|
| 125835 | 65092 | SOLARTRON ELECTRONICS INC WESTON INSTRUMENTS DIV |
Request a Quote
What Our Customers Say
Compare
NSNs for Compare ( up to 4 ): Add 5970-00-431-9572
Related Products | NSN 5970-00-431-9572
Technical Data | NSN 5970-00-431-9572
| Characteristic | Specifications |
|---|---|
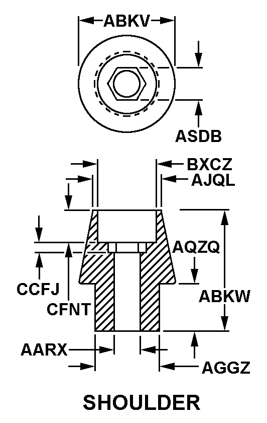
| STYLE DESIGNATOR | C47 SHOULDER |
| INSIDE DIAMETER | 0.250 INCHES NOMINAL |
| OUTSIDE DIAMETER | 0.750 INCHES NOMINAL |
| OVERALL HEIGHT | 0.875 INCHES NOMINAL |
| SHANK OUTSIDE DIAMETER | 0.500 INCHES NOMINAL |
| TOP DIAMETER | 0.625 INCHES NOMINAL |
| SHANK HEIGHT | 0.250 INCHES NOMINAL |
| WIDTH ACROSS FLATS | 0.312 INCHES NOMINAL |
| FIRST COUNTERBORE DIAMETER | 0.406 INCHES NOMINAL |
| SECOND COUNTERBORE DEPTH | 0.063 INCHES NOMINAL |
| FIRST COUNTERBORE DEPTH | 0.375 INCHES NOMINAL |
| MATERIAL AND LOCATION | OVERALL CERAMIC |
| MANUFACTURERS CODE | 65092 |
| DESIGN CONTROL REFERENCE | 125835 |
Restrictions/Controls & Freight Information | NSN 5970-00-431-9572
| Category | Code | Description |
|---|---|---|
| Shelf-Life Code: | 0 | Nondeteriorative |
| Hazardous Material Indicator Code | P | There is no information in the HMIS; however, the NSN is in an FSC in Table II of Federal Standard 313 and an MSDS may be required by the user. The requirement for an MSDS is dependent on a hazard determination of the supplier or the intended end use of the product |
| Demilitarization Code: | A | Non-Munitions List Item/ Non-Strategic List Item - Demilitarization not required. |
| Controlled Inventory Item Code: | U | UNCLASSIFIED |
| Precious Metals Indicator Code: | U | Precious metal type is unknown |
| Criticality Code: | X | The item does not have a nuclear hardened feature or any other critical feature such as tolerance, fit restriction or application. |
| Category | Code | Description |
|---|---|---|
| NMF Description | 103660 | ELECTRIC WIRE OR WIRING |
| Less than car load rating | ||
| Less than truck load rating | Z | No Rating |
| Water commodity Code | 658 | unknown |
| Originating Activity Code | XX | |
| Air Dimension Code | A | Shipment is not a consolidation and does not exceed 72 inches in any dimension. |
| Air Commodity | H | Signal Corps supplies and equipment, including radio equipment and supplies, communications equipment and supplies, electrical equipment and supplies, etc. |
| Air Special Handling | Z | No special handling required. |
| Special Handling Code | 9 | unknonwn |
| HAZMAT | ||
| Type of Cargo | Z | No special type of cargo code applicable |
Management | NSN 5970-00-431-9572
| Category | Code | Description |
|---|---|---|
| Cognizance Codes | 9G | Navy-owned stocks of defense general material Naval Inventory Control Point, Mechanicsburg |
| Source of Supply | S9G | Defense Supply Center Richmond Richmond, VA 23297 |
| Agency | DN | Department of the Navy |
| Service Organization | N | U.S. Navy |
| Acquisition Advice Codes | V | TERMINAL ITEM # Identifies items in stock, but future procurement is not authorized. Requisitions may continue to be submitted until stocks are exhausted. Preferred item National Stock Number is normally provided by application of the phrase: When Exhausted Use (NSN). Requisitions will be submitted in accordance with IMM/Service requisitioning procedures as applicable. |
| Controlled Item Code | U | UNCLASSIFIED |
| Shelf Life Code | 0 | Nondeteriorative |



