NSN 5970-01-089-0120 GS830AE2342, GS830AE2-3-42, 382A023-3/42-0
Product Details | SPECIAL PURPOSE ELECTRICAL INSULATION SLEEVING
5970-01-089-0120 A rigid or flexible tubing having other than uniform fabricated shapes or forms. It is specifically designed to prevent any undesirable flow of current between conductors or between conductors and other objects. Includes shrinkable type items. Excludes items not having rated electrical characteristics. Also excludes BUSHING, SLEEVE; CABLE NIPPLE, ELECTRICAL; and INSULATION SLEEVING, ELECTRICAL.
Part Alternates: GS830AE2342, GS830AE2-3-42, 382A023-3/42-0, 382A0233420, 493H1341AL, 493H134-1-AL, 5970-01-089-0120, 01-089-0120, 5970010890120, 010890120
Electrical and Electronic Equipment Components | Electrical Insulators and Insulating Materials
| Supply Group (FSG) | NSN Assign. | NIIN | Item Name Code (INC) |
|---|---|---|---|
| 59 | 24 JAN 1980 | 01-089-0120 | 61626 ( INSULATION SLEEVING, ELECTRICAL, SPECIAL PURPOSE ) |
Demand History | NSN 5970-01-089-0120
| Part Number | Request Date | QTY | Origin |
|---|---|---|---|
| 5970-01-089-0120 | 2015-11-312 | 7812 | DIBBS |
| 5970-01-089-0120 | 2015-08-225 | 80 | Canada |
| 5970-01-089-0120 | 2015-08-218 | 80 | Canada |
| 5970-01-089-0120 | 2015-05-134 | 50 | Canada |
| 5970-01-089-0120 | 2011-11-325 | 4138 | DIBBS |
| 5970-01-089-0120 | 2011-08-237 | 4138 | DIBBS |
| 5970-01-089-0120 | 2011-06-181 | 1350 | DIBBS |
| 5970-01-089-0120 | 2009-02-36 | 1191 | DIBBS |
Cross Reference | NSN 5970-01-089-0120
| Part Number | Cage Code | Manufacturer |
|---|---|---|
| 382A023-3/42-0 | 06090 | TYCO ELECTRONICS CORPORATION |
| 493H134-1-AL | 53387 | 3M COMPANY DIV ELECTRO AND COMMUNICATIONS |
| 493H134-1-AL | 75037 | MINNESOTA MINING AND MFG CO 3M COMPANY |
| 493H134-1-AL | K0720 | HELLERMANNTYTON LIMITED |
| GS830AE2-3-42 | 26512 | NORTHROP GRUMMAN SYSTEMS CORPORATION DIV NORTHROP GRUMMAN AEROSPACE |
Request a Quote
What Our Customers Say
Compare
NSNs for Compare ( up to 4 ): Add 5970-01-089-0120
Related Products | NSN 5970-01-089-0120
Technical Data | NSN 5970-01-089-0120
| Characteristic | Specifications |
|---|---|
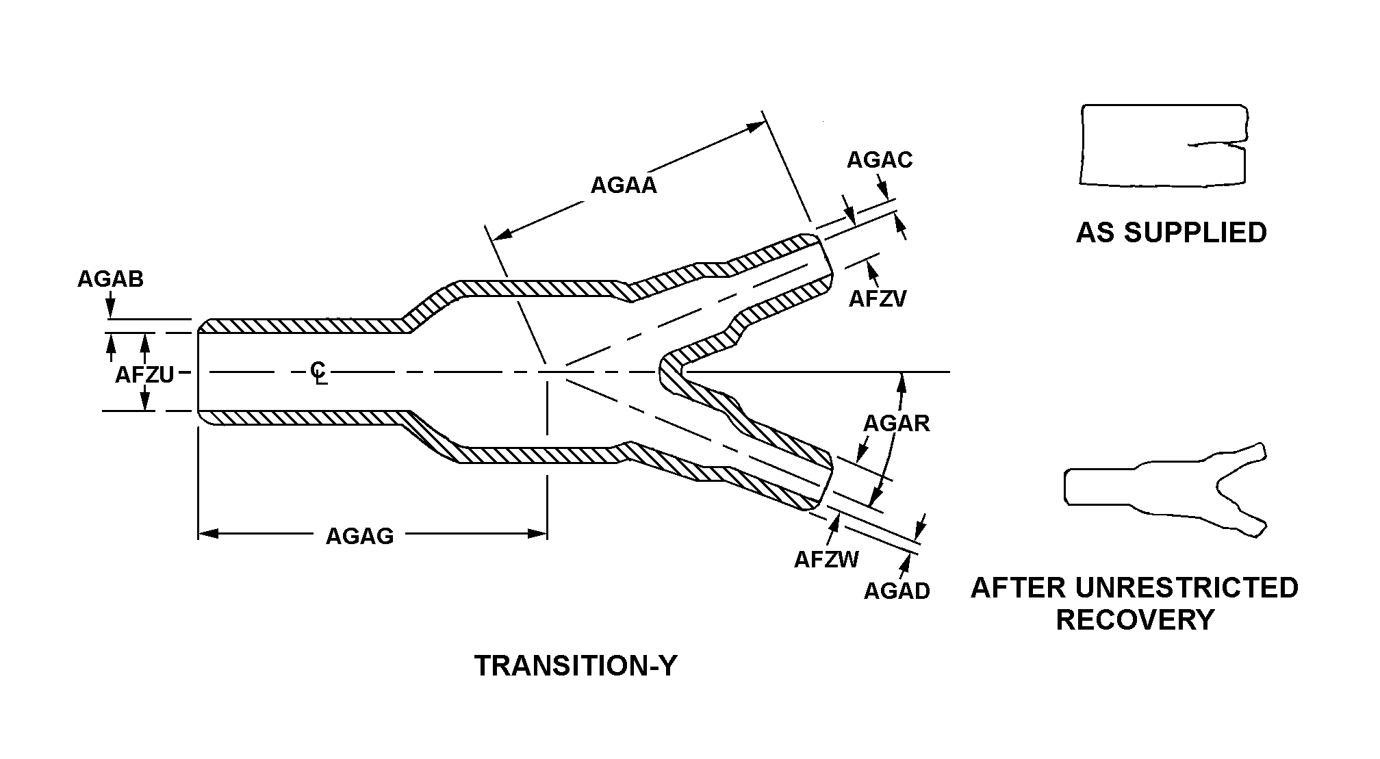
| STYLE DESIGNATOR | B7 TRANSITION-Y |
| MAIN BODY INSIDE DIAMETER | 1.060 INCHES MINIMUM AS SUPPLIED 0.490 INCHES MAXIMUM AFTER UNRESTRICTED RECOVERY |
| FIRST BRANCH INSIDE DIAMETER | 0.520 INCHES MINIMUM AS SUPPLIED 0.240 INCHES MAXIMUM AFTER UNRESTRICTED RECOVERY |
| SECOND BRANCH INSIDE DIAMETER | 0.520 INCHES MINIMUM AS SUPPLIED 0.240 INCHES MAXIMUM AFTER UNRESTRICTED RECOVERY |
| DISTANCE FROM INTERSECTING CENTERLINE OF MAIN BODY TO END OF FIRST BRANCH | 1.700 INCHES NOMINAL AFTER UNRESTRICTED RECOVERY |
| MAIN BODY WALL THICKNESS | 0.100 INCHES NOMINAL AFTER UNRESTRICTED RECOVERY |
| FIRST BRANCH WALL THICKNESS | 0.060 INCHES NOMINAL AFTER UNRESTRICTED RECOVERY |
| SECOND BRANCH WALL THICKNESS | 0.060 INCHES NOMINAL AFTER UNRESTRICTED RECOVERY |
| DISTANCE FROM EDGE OF MAIN BODY TO INTERSECTING CENTERLINES | 1.500 INCHES NOMINAL AFTER UNRESTRICTED RECOVERY |
| ANGLE BETWEEN MAIN BODY AND SECOND BRANCH CENTERLINES IN DEG | 10.0 NOMINAL AS SUPPLIED 22.5 NOMINAL AFTER UNRESTRICTED RECOVERY |
| MATERIAL | PLASTIC, POLYOLEFIN, RT-301, RAYCHEM CORP |
| COLOR | BLACK |
| FLEXIBILITY | SEMIRIGID |
| TEMP RATING | -55.0 DEG CELSIUS |
| MINIMUM TENSILE STRENGTH | 1500 POUNDS PER SQUARE INCH |
| DIELECTRIC MATERIAL VOLTAGE RATING PER UNIT THICKNESS | 200.0 VOLTS PER MIL /0.001 INCH/ |
| ENVIRONMENTAL PROTECTION | CORROSION RESISTANT AND FLAME RESISTANT AND MILDEW RESISTANT AND SOLVENT RESISTANT AND WATER RESISTANT |
| SPECIAL FEATURES | ADHESIVE COATING INSIDE |
Restrictions/Controls & Freight Information | NSN 5970-01-089-0120
| Category | Code | Description |
|---|---|---|
| Shelf-Life Code: | 0 | Nondeteriorative |
| Hazardous Material Indicator Code | P | There is no information in the HMIS; however, the NSN is in an FSC in Table II of Federal Standard 313 and an MSDS may be required by the user. The requirement for an MSDS is dependent on a hazard determination of the supplier or the intended end use of the product |
| Demilitarization Code: | A | Non-Munitions List Item/ Non-Strategic List Item - Demilitarization not required. |
| Controlled Inventory Item Code: | U | UNCLASSIFIED |
| Precious Metals Indicator Code: | U | Precious metal type is unknown |
| Criticality Code: | X | The item does not have a nuclear hardened feature or any other critical feature such as tolerance, fit restriction or application. |
| Category | Code | Description |
|---|---|---|
| NMF Description | 103300 | INSULATING MATERIAL NOI |
| Less than car load rating | ||
| Less than truck load rating | W | Rating Variable |
| Water commodity Code | 72D | unknown |
| Originating Activity Code | CX | Defense Supply Center Richmond Richmond, VA 23297-5000 |
| Air Dimension Code | A | Shipment is not a consolidation and does not exceed 72 inches in any dimension. |
| Air Commodity | H | Signal Corps supplies and equipment, including radio equipment and supplies, communications equipment and supplies, electrical equipment and supplies, etc. |
| Air Special Handling | Z | No special handling required. |
| Special Handling Code | 9 | unknonwn |
| HAZMAT | ||
| Type of Cargo | Z | No special type of cargo code applicable |
Management | NSN 5970-01-089-0120
| Category | Code | Description |
|---|---|---|
| Materiel Category and Inventory Manager | J | Ground Forces Support Materiel (DLA/GSA Items) |
| Appropriation and Budget Activity | 2 | Stock Fund Secondary Items |
| Management Inventory Segment | 2 | NONREPARABLE ITEMS (Exclusive of Insurance and Provisioning Items). This code will be used to identify items which are not reparable. |
| Specific Group/Generic Code | 0 | Medical Materiel |
| Weapons Systems/End Item or Homogeneous Group | 00 | DLA/GSA-Managed Items that cannot be identified to a specific Army Weapons Systems/End Item |
| Accounting Requirements Code | X | Expendable item. An item of Army property coded with an ARC of ?X? in the AMDF. Expendable items require no formal accountability after issue from a stock record account. Commercial and fabricated items similar to items coded ?X? in the AMDF are considered expendable items. |
| Source of Supply | SMS | Defense Logistics Agency Enterprise Business Systems |
| Agency | DA | Department of the Army |
| Service Organization | A | U.S. Army |
| Reparability | A | Item requires special handling or condemnation procedures for specific reasons, such as precious metal content, high dollar value, critical material, or hazardous materiel. Refer to appropriate manuals or directives for specific instructions. |
| Acquisition Advice Codes | Z | INSURANCE/NUMERIC STOCKAGE OBJECTIVE ITEM # Items which may be required occasionally or intermittently, and prudence requires that a nominal quantity of materiel be stocked due to the essentiality or the lead time of the item. 1. The item is centrally managed, stocked, and issued. 2. Requisitions will be submitted in accordance with IMM/Service requisitioning procedures. |
| Controlled Item Code | U | UNCLASSIFIED |
| Shelf Life Code | 0 | Nondeteriorative |
| Purchasing | QTY UOM |
1 EA : Each |
| Category | Code | Description |
|---|---|---|
| Budget Code | 9 | General Support DIV57X4921.070:Air Force decentrally managed expense items (ERRC XB3, XF-3) with a unit cost of less than $250,000 that are requisitioned/procured at base (retail) level from DLA, GSA, Army, Navy, Depot Maintenance Service, Air Force Industrial Fund (AFMC), local manufacture and commercial vendors. |
| Materiel Management Aggregation Code | EH | SX:ELECTRONIC COMPONENTS |
| Price Validation | N | The current standard price in Catalog Management Data (CMD) has not analyzed or coded for LP/LM.
|
| Fund Code | SF | Stock fund applicable to items managed for the Air Force by the respective Inventory Control Point. |
| Source of Supply | SMS | Defense Logistics Agency Enterprise Business Systems |
| Agency | DF | Department of the Air Force |
| Service Organization | F | U.S. Air Force |
| Reparability | N | Stock Fund (except Munitions) |
| Acquisition Advice Codes | Z | INSURANCE/NUMERIC STOCKAGE OBJECTIVE ITEM # Items which may be required occasionally or intermittently, and prudence requires that a nominal quantity of materiel be stocked due to the essentiality or the lead time of the item. 1. The item is centrally managed, stocked, and issued. 2. Requisitions will be submitted in accordance with IMM/Service requisitioning procedures. |
| Controlled Item Code | U | UNCLASSIFIED |
| Shelf Life Code | 0 | Nondeteriorative |
| Purchasing | QTY UOM |
1 EA : Each |
| Category | Code | Description |
|---|---|---|
| Stores Account Code | 1 | Marine Corps Stock Fund Account Item. |
| Combat Essentiality Code | 6 | Critical Repair Part to a Non-Combat Essential End Item. Those parts or components whose failure in a noncombat essential end item will render the end item inoperative or reduce its effectiveness below the minimum acceptable level of efficiency. |
| Materiel Management Code | B | All CommoditiesDefense Logistics Agency, (DLA,) |
| Echelon Management Code | 2 | ICP/DSSC Marine Corps-managed Recoverability Code D items and Defense Logistics Agency (DLA)/TACOM/GSA) items which the integrated manager has not decontrolled. |
| Source of Supply | SMS | Defense Logistics Agency Enterprise Business Systems |
| Agency | DM | U.S. Marine Corps |
| Service Organization | M | U.S. Marine Corps |
| Reparability | Z | Nonreparable item. When unserviceable, condemn and dispose at the level indicated by the first digit of the maintenance code. |
| Acquisition Advice Codes | Z | INSURANCE/NUMERIC STOCKAGE OBJECTIVE ITEM # Items which may be required occasionally or intermittently, and prudence requires that a nominal quantity of materiel be stocked due to the essentiality or the lead time of the item. 1. The item is centrally managed, stocked, and issued. 2. Requisitions will be submitted in accordance with IMM/Service requisitioning procedures. |
| Controlled Item Code | U | UNCLASSIFIED |
| Shelf Life Code | 0 | Nondeteriorative |
| Purchasing | QTY UOM |
1 EA : Each |
| Category | Code | Description |
|---|---|---|
| Cognizance Codes | 9B | Navy-owned stocks of DLA material Naval Inventory Control Point, Mechanicsburg |
| Source of Supply | SMS | Defense Logistics Agency Enterprise Business Systems |
| Agency | DN | Department of the Navy |
| Service Organization | N | U.S. Navy |
| Acquisition Advice Codes | Z | INSURANCE/NUMERIC STOCKAGE OBJECTIVE ITEM # Items which may be required occasionally or intermittently, and prudence requires that a nominal quantity of materiel be stocked due to the essentiality or the lead time of the item. 1. The item is centrally managed, stocked, and issued. 2. Requisitions will be submitted in accordance with IMM/Service requisitioning procedures. |
| Controlled Item Code | U | UNCLASSIFIED |
| Shelf Life Code | 0 | Nondeteriorative |
| Purchasing | QTY UOM |
1 EA : Each |



