NSN 5975-00-800-5979 GUAN24GUA041, 00-800-5979, 008005979
Product Details | CONDUIT OUTLET
5975-00-800-5979 An item designed to be used in a conduit system for the purpose of providing outlets or attachments for electrical wiring devices and/or designed to provide access and facilitate installment of wires. It may or may not include a cover(s). It does not include wiring devices. Excludes ENTRANCE ELBOW, ELECTRICAL. See also JUNCTION BOX.
Part Alternates: GUAN24GUA041, 5975-00-800-5979, 00-800-5979, 5975008005979, 008005979
Electrical and Electronic Equipment Components | Electrical Hardware and Supplies
| Supply Group (FSG) | NSN Assign. | NIIN | Item Name Code (INC) |
|---|---|---|---|
| 59 | 01 JAN 1962 | 00-800-5979 | 06945 ( CONDUIT OUTLET ) |
Cross Reference | NSN 5975-00-800-5979
| Part Number | Cage Code | Manufacturer |
|---|---|---|
| GUAN24GUA041 | 15235 | CROUSE-HINDS CO |
Request a Quote
What Our Customers Say
Compare
NSNs for Compare ( up to 4 ): Add 5975-00-800-5979
Related Products | NSN 5975-00-800-5979
Technical Data | NSN 5975-00-800-5979
| Characteristic | Specifications |
|---|---|
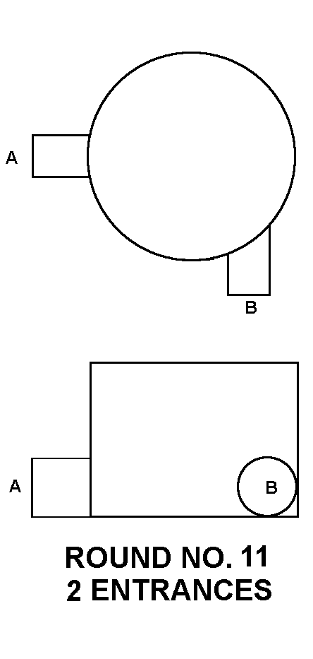
| STYLE DESIGNATOR | C11 ROUND NO. 11 2 ENTRANCES |
| OVERALL DIAMETER | 2.500 INCHES NOMINAL |
| DEPTH | 2.312 INCHES NOMINAL |
| COVER OPENING DIAMETER | 2.000 INCHES NOMINAL |
| CONDUIT ENTRANCE TYPE | HUB DRILLED AND TAPPED ALL ENTRANCE |
| CONDUIT TYPE ACCOMMODATED | RIGID METALLIC THICKWALL ALL ENTRANCE |
| CONDUIT TRADE SIZE ACCOMMODATED | 0.750 INCHES ALL ENTRANCE |
| TRADE DESIGNATION | GUA SERIES |
| MATERIAL | IRON OVERALL |
| COVER MOUNTING METHOD | EXTERNAL THREADED |
| COVER MOUNTING SURFACE TYPE | FLAT |
| COVER QUANTITY | 1 |
| FUNCTIONAL COVER STYLE | E1 BLANK |
| HAZARDOUS LOCATIONS/ENVIRONMENTAL PROTECTION | EXPLOSION PROOF AND DUSTTIGHT |
Restrictions/Controls & Freight Information | NSN 5975-00-800-5979
| Category | Code | Description |
|---|---|---|
| Hazardous Material Indicator Code | P | There is no information in the HMIS; however, the NSN is in an FSC in Table II of Federal Standard 313 and an MSDS may be required by the user. The requirement for an MSDS is dependent on a hazard determination of the supplier or the intended end use of the product |
| Demilitarization Code: | A | Non-Munitions List Item/ Non-Strategic List Item - Demilitarization not required. |
| Precious Metals Indicator Code: | U | Precious metal type is unknown |
| Criticality Code: | X | The item does not have a nuclear hardened feature or any other critical feature such as tolerance, fit restriction or application. |
| Category | Code | Description |
|---|---|---|
| No Freight Information | ||



