NSN 6250-00-283-9741 MS902823, MS90282-3, S816989
Product Details | LAMPHOLDER
6250-00-283-9741 An electric fitting primarily designed to electrically and mechanically accommodate a lamp. It may include an integral switch, transformer, or dropping resistor, provided these items control the lamp only. It does not include a shade, lens, reflector, or other item for modifying illumination. For items designed to mount on a CONDUIT OUTLET, or JUNCTION BOX; see FIXTURE, LIGHTING.
Part Alternates: MS902823, MS90282-3, S816989, S81-6989, C6177, LH22/1, LH221, LH22-1, MIL-L-3661/1, MILL36611, RC1175, 706, 7-06, 7714630P2, 8027650, 8093595, 8176202, 8243019, 10381799, 1038-1799, 136-0001-00, 136001, 136-001, 136-0035-00, 14500008, 1450-0008, 1457, 145-7, 17P0310, 183154, 1931, 208CH, 21085, 2Z5883152, 2Z5883-152, 3706412, 370641-2, 4151314, 4151-314, 4803516, 480351-6, 53545, 5L16, 6250-00-283-9741, 00-283-9741, 6250002839741, 002839741, 136000100, 136003500
Lighting Fixtures and Lamps | Ballasts, Lampholders, and Starters
| Supply Group (FSG) | NSN Assign. | NIIN | Item Name Code (INC) |
|---|---|---|---|
| 62 | 01 JAN 1963 | 00-283-9741 | 16208 ( LAMPHOLDER ) |
Demand History | NSN 6250-00-283-9741
| Part Number | Request Date | QTY | Origin |
|---|---|---|---|
| 6250-00-283-9741 | 2023-05-122 | 11 | DIBBS |
| 6250-00-283-9741 | 2022-11-325 | 3 | DIBBS |
| 6250-00-283-9741 | 2019-04-116 | 86 | United States |
| 6250-00-283-9741 | 2019-04-105 | 86 | United States |
| 6250-00-283-9741 | 2019-02-50 | 86 | DIBBS |
| 6250-00-283-9741 | 2019-02-36 | 86 | DIBBS |
| 6250-00-283-9741 | 2015-08-216 | 73 | DIBBS |
| 706 | 2015-06-153 | 16 | United States |
| 1931 | 2015-03-83 | 1 | |
| 6250-00-283-9741 | 2015-03-78 | 93 | DIBBS |
| 6250-00-283-9741 | 2012-07-187 | 27 | DIBBS |
| 6250-00-283-9741 | 2011-09-258 | 18 | DIBBS |
| 6250-00-283-9741 | 2010-08-236 | 35 | DIBBS |
| 6250-00-283-9741 | 2010-05-133 | 13 | DIBBS |
| 6250-00-283-9741 | 2010-03-89 | 50 | DIBBS |
| 706 | 2009-07-197 | 48 | US |
Cross Reference | NSN 6250-00-283-9741
| Part Number | Cage Code | Manufacturer |
|---|---|---|
| 1038-1799 | 95542 | NORTHROP GRUMMAN SYSTEMS CORPORATION |
| 1038-1799 | C1834 | KONTRON AG |
| 136-0001-00 | 80009 | TEKTRONIX, INC. DBA TEKTRONIX |
| 136-001 | 80009 | TEKTRONIX, INC. DBA TEKTRONIX |
| 136-0035-00 | D9182 | BOSCH REXROTH GMBH LOHMANN +STOLTERFOHT |
| 145-7 | 1LQK8 | KEYSIGHT TECHNOLOGIES, INC. |
| 145-7 | 28480 | HEWLETT-PACKARD COMPANY DBA HEWLETT-PACKARD CO. OR HP |
| 1450-0008 | 1LQK8 | KEYSIGHT TECHNOLOGIES, INC. |
| 1450-0008 | 28480 | HEWLETT-PACKARD COMPANY DBA HEWLETT-PACKARD CO. OR HP |
| 17P0310 | 97770 | REPUBLIC ELECTRIC AND MFG CORP |
| 183154 | 07187 | HONEYWELL INTERNATIONAL INC. DBA HONEYWELL |
| 183154 | 56232 | LOCKHEED MARTIN CORPORATION DBA LOCKHEED MARTIN |
| 1931 | D9182 | BOSCH REXROTH GMBH LOHMANN +STOLTERFOHT |
| 208CH | 71785 | CINCH CONNECTORS, INC. |
| 21085 | 82340 | EDO CORPORATION DIV DEFENSE SYSTEMS |
| 2Z5883-152 | 80063 | US ARMY COMMUNICATIONS & ELECTRONICS MATERIEL READINESS |
| 370641-2 | 14028 | SYPRIS ELECTRONICS, LLC |
| 4151-314 | 71744 | CHICAGO MINIATURE LIGHTING LLC DBA CHICAGO MINIATURE OPTOELECTRON |
| 480351-6 | 02769 | LOCKHEED MARTIN CORPORATION DBA LOCKHEED MARTIN |
| 480351-6 | 49671 | LOCKHEED MARTIN CORP LOCKHEED MARTIN INFORMATION SYSTEMS |
| 53545 | 96214 | RAYTHEON COMPANY DBA RAYTHEON |
| 5L16 | 20049 | THE ELECTRIC TACHOMETER CORP. |
| 7-06 | 83330 | DIALIGHT CORPORATION |
| 7-06 | 95263 | LIGHTING COMPONENTS AND DESIGN INCORPORATED |
| 7-06 | 95312 | ANTHES WESTERN LTD |
| 7714630P2 | 03538 | LOCKHEED MARTIN CORPORATION DIV MST |
| 7714630P2 | 24446 | GENERAL ELECTRIC CO |
| 8027650 | 18876 | U S ARMY AVIATION AND MISSILE COMMAND |
| 8093595 | 18876 | U S ARMY AVIATION AND MISSILE COMMAND |
| 8176202 | 18876 | U S ARMY AVIATION AND MISSILE COMMAND |
| 8243019 | 19200 | US ARMY ARDEC RDECOM |
| C6177 | 83330 | DIALIGHT CORPORATION |
| LH22-1 | D9182 | BOSCH REXROTH GMBH LOHMANN +STOLTERFOHT |
| LH22/1 | 81349 | MILITARY SPECIFICATIONS PROMULGATED BY MILITARY |
| MIL-L-3661/1 | 81349 | MILITARY SPECIFICATIONS PROMULGATED BY MILITARY |
| MS90282-3 | 96906 | MILITARY STANDARDS PROMULGATED BY MILITARY DEPARTMENTS |
| RC1175 | 80249 | BAE SYSTEMS INFORMATION AND ELECTRONIC SYSTEMS INTEGRATION INC. |
| S81-6989 | 09150 | AMPEX DATA SYSTEMS CORP COMPUTER PRODUCTS DIV |
Request a Quote
What Our Customers Say
Compare
Related Products | NSN 6250-00-283-9741
Technical Data | NSN 6250-00-283-9741
| Characteristic | Specifications |
|---|---|
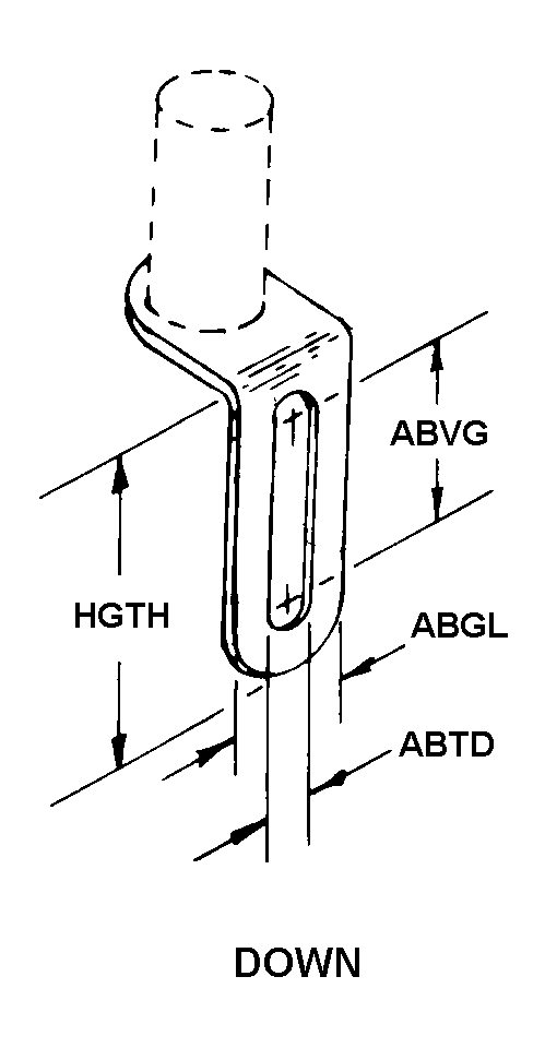
| STYLE DESIGNATOR | A38 CANDELABRA |
| OUTSIDE DIAMETER | 0.438 INCHES NOMINAL |
| OVERALL HEIGHT | 0.750 INCHES NOMINAL |
| SHELL MATERIAL | STEEL |
| SHELL SURFACE TREATMENT | ANY ACCEPTABLE |
| LAMP BASE TYPE ACCOMMODATED | MINIATURE BAYONET |
| CURRENT RATING IN AMPS | NOT RATED |
| WATTAGE RATING IN WATTS | NOT RATED |
| TERMINAL TYPE | TAB, SOLDER LUG |
| TERMINAL QUANTITY | 2 |
| MOUNTING FEATURE TYPE | SURFACE |
| MOUNTING METHOD | BRACKET |
| MOUNTING MATERIAL | STEEL |
| MOUNTING DEVICE QUANTITY | 1 |
| MOUNTING BRACKET STYLE | B3 DOWN |
| WIDTH | 0.438 INCHES NOMINAL |
| MOUNTING SLOT WIDTH | 0.188 INCHES NOMINAL |
| MOUNTING SLOT LENGTH | 0.875 INCHES NOMINAL |
| HEIGHT | 1.312 INCHES NOMINAL |
| HAZARDOUS LOCATIONS/ENVIRONMENTAL PROTECTION | NOT RATED |
| MANUFACTURERS CODE | 81349 |
| DEFINITIVE GOVERNMENT SPEC/STD REFERENCE | LH22/1 |
| MANUFACTURERS CODE | 81349 |
| NON-DEFINITIVE GOVERNMENT SPEC/STD REFERENCE | MIL-L-3661/1 |
Restrictions/Controls & Freight Information | NSN 6250-00-283-9741
| Category | Code | Description |
|---|---|---|
| Shelf-Life Code: | 0 | Nondeteriorative |
| Hazardous Material Indicator Code | N | There is no data in the HMIS and the NSN is in an FSC not generally suspected of containing hazardous materials |
| Demilitarization Code: | A | Non-Munitions List Item/ Non-Strategic List Item - Demilitarization not required. |
| Controlled Inventory Item Code: | U | UNCLASSIFIED |
| Precious Metals Indicator Code: | U | Precious metal type is unknown |
| Criticality Code: | X | The item does not have a nuclear hardened feature or any other critical feature such as tolerance, fit restriction or application. |
| Category | Code | Description |
|---|---|---|
| No Freight Information | ||



