NSN 5985-01-187-4996 WLA98, WL-A98, 21822193
Product Details | ELECTRICAL DUMMY LOAD
5985-01-187-4996 A specific electrical element or set of electrical elements that are connected together to form a fixed arrangement and used as a substitute load for terminating an electrical circuit. A dummy load contains all the essential electrical characteristics necessary to terminate the circuit but does not function in the same manner as the load which it replaces. Examples are resistors used to replace antennas, batteries, loudspeakers, or the like. Includes single port terminations of twin lead, coaxial and waveguide transmission lines as low power terminations of a section of a transmission system in a specified manner. Includes dummy loads when arranged in a group or bank. Excludes power absorbers. See also LOAD BANK, ELECTRICAL.
Part Alternates: WLA98, WL-A98, 21822193, 2182219-3, 5985-01-187-4996, 01-187-4996, 5985011874996, 011874996
Electrical and Electronic Equipment Components | Antennas, Waveguides, and Related Equipment
| Supply Group (FSG) | NSN Assign. | NIIN | Item Name Code (INC) |
|---|---|---|---|
| 59 | 23 AUG 1984 | 01-187-4996 | 00335 ( DUMMY LOAD, ELECTRICAL ) |
Request a Quote
What Our Customers Say
Compare
Related Products | NSN 5985-01-187-4996
Technical Data | NSN 5985-01-187-4996
| Characteristic | Specifications |
|---|---|
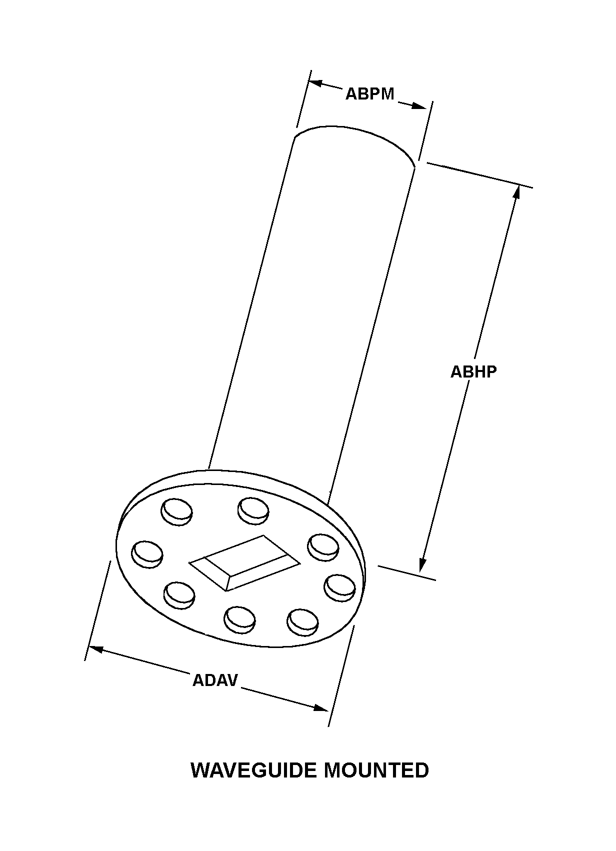
| STYLE DESIGNATOR | 27A WAVEGUIDE MOUNTED |
| OVERALL LENGTH | 7.984 INCHES MINIMUM AND 8.016 INCHES MAXIMUM |
| BODY DIAMETER | 3.125 INCHES NOMINAL |
| OVERALL DIAMETER | 3.250 INCHES MAXIMUM |
| POWER RATING | 40.000 KILOWATTS PEAK AND 1.200 KILOWATTS AVERAGE |
| VOLTAGE STANDING WAVE RATIO | 1.25 |
| TERMINATION TYPE | WAVEGUIDE FLANGE |
| COOLING METHOD | FORCED LIQUID |
| COOLANT CHAMBER PRESSURE | 200.0 POUNDS PER SQUARE INCH GAGE |
| INPUT COOLANT TEMP | 70.0 DEG CELSIUS |
| COOLING SYSTEM COOLANT FLOW RATE | 0.5 GALLONS PER MINUTE |
| INTAKE CONNECTION THREAD LOCATION | EXTERNAL |
| DISCHARGE CONNECTION THREAD LOCATION | EXTERNAL |
| OPERATING POSITION | ALL POSITIONS |
| SPECIAL FEATURES | FREQUENCY RANGE |
| CRITICALITY CODE JUSTIFICATION | FEAT |
| III UNPACKAGED UNIT WEIGHT | 4.000 POUNDS |
| III FRAGILITY FACTOR | MODERATELY DELICATE |
| III FSC APPLICATION DATA | RADAR EQUIPMENT |
Restrictions/Controls & Freight Information | NSN 5985-01-187-4996
| Category | Code | Description |
|---|---|---|
| Shelf-Life Code: | 0 | Nondeteriorative |
| Hazardous Material Indicator Code | P | There is no information in the HMIS; however, the NSN is in an FSC in Table II of Federal Standard 313 and an MSDS may be required by the user. The requirement for an MSDS is dependent on a hazard determination of the supplier or the intended end use of the product |
| Demilitarization Code: | Q | Strategic List Item (SLI). Demilitarization not required. SLI are non-MLI(Munitions List Items) controlled by the U.S. Dept. of Commerce through the Export Administration Regulations (EAR) and indicated on the Commerce Control List (CCL). Each CCL entry is preceded by a four-digit Export Control Commerce Control List Item (CCLI) – MUT to the point of scrap required outside the United States. Inside the United States, MUT is required when the DEMIL integrity code (IC) is “3” and MUT is not required when the DEMIL IC is “6.” |
| Controlled Inventory Item Code: | U | UNCLASSIFIED |
| Precious Metals Indicator Code: | A | Item does not contain precious metal |
| Criticality Code: | Y | The item does not have a nuclear hardened feature but does have other critical feature(s) such as tolerance, fit restriction or application. |
| Automatic Data Processing Equipment: | 0 | Represents items with no ADP components. NOTE: Codes 1 through 6 are only to be used when the item is Automatic Data Processing Equipment (ADPE) in its entirety and is limited to the type meeting only one of the definitions for codes 1 through 6. (See code 9) |
| Category | Code | Description |
|---|---|---|
| NMF Description | 062960 | REOSTATS/PARTS NOI |
| Less than car load rating | ||
| Less than truck load rating | P | 77.5 |
| Water commodity Code | 658 | unknown |
| Originating Activity Code | HD | Naval Inventory Control Point Mechanicsburg, PA 17055-0788 |
| Air Dimension Code | A | Shipment is not a consolidation and does not exceed 72 inches in any dimension. |
| Air Commodity | H | Signal Corps supplies and equipment, including radio equipment and supplies, communications equipment and supplies, electrical equipment and supplies, etc. |
| Air Special Handling | Z | No special handling required. |
| Special Handling Code | 9 | unknonwn |
| HAZMAT | ||
| Type of Cargo | Z | No special type of cargo code applicable |
Management | NSN 5985-01-187-4996
| Category | Code | Description |
|---|---|---|
| Cognizance Codes | 9B | Navy-owned stocks of DLA material Naval Inventory Control Point, Mechanicsburg |
| Source of Supply | SMS | Defense Logistics Agency Enterprise Business Systems |
| Agency | DN | Department of the Navy |
| Service Organization | N | U.S. Navy |
| Acquisition Advice Codes | J | NOT STOCKED, CENTRALLY PROCURED # (NON-STOCKED ITEMS) IMM/Service centrally managed but not stocked item. Procurement will be initiated only after receipt of a requisition. |
| Controlled Item Code | U | UNCLASSIFIED |
| Shelf Life Code | 0 | Nondeteriorative |
| Purchasing | QTY UOM |
1 EA : Each |



